加速度传感器及放大器的介绍
轴承振动加速度测量时选用的加速度传感器为压电式传感器,通过安装在传感器前端的金属触头与轴承的外圈接触来传递振动信号,安装方式和使用方式都较为方便和简单。
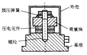
压电式加速度传感器又称压电加速度计,属于惯性式传感器。它是利用某些物质如石英晶体的压电效应,在加速度计受振时,质量块加在压电元件上的力也随之变化。当被测振动频率远低于加速度计的固有频率时,则力的变化与被测加速度成正比。因此,利用这一原理可以检测轴承振动的加速度信号。加速度传感器的基本结构图如下:

加速度传感器结构图
由于压电式传感器的输出电信号是微弱的电荷,而且传感器本身有很大内阻,故输出能量甚微,采集过程中还会混入干扰噪声,信噪比较小,这给后接电路带来一定困难。为此,需要设计满足使用要求的放大器。
振动信号放大电路需具有高输入阻抗、低输出阻抗、噪声干扰低、信号放大能力强、低温漂等优点,介于需求的放大倍数通常较大,而单级放大电路的放大倍数有限,结合噪声和频率相应等因素,采用二级放大电路最为合理。根据振动测量的国标要求,振动信号要求频率范围为0~10KHz,因此放大器还需要有较宽的输出频带,满足后续信号处理(模拟信号处理或者数字信号处理)的要求。

上一条: 轴承振动振动传感器中放大电路的设计
下一条: 数字式轴承振动测量仪电箱的的优势有哪些?

